東晟產品分類
聯系我們
廣東東晟密封科技有限公司
電話:
傳真:
地址:石碣鎮橫滘工業區偉業街
郵編:523302
E-mail:
浮動油封密封件的安裝程序
來源:廣東東晟密封科技有限公司更新時間:2016-04-23
浮動油封密封件的安裝
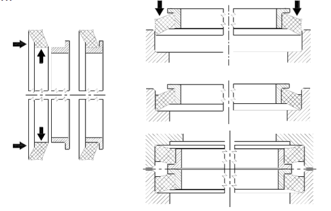
浮動油封密封件是否安裝正確對其能否良好使用有很大影響。以A型浮動油封為例,首先要做好準備工作。清潔設備及浮封座,確保沒有毛刺、雜質、油污等。舊設備可以先用刮刀鏟除浮封座腔室表面的污垢和銹跡,再用非油基清洗劑清洗,用絲布或者麂皮擦干凈。并檢查浮動油封是否完好清潔,密封面有無損傷劃痕等,必要時需要研磨修復。浮封環要小心拿放以防損壞或變形。復合安裝腔室尺寸及裝配尺寸。分別把O型圈套在浮封環背錐面底部,適當拉伸調整,避免扭曲或拉伸不均。


安裝時為確保安裝準確到位,要求水平向下安裝,避免傾斜、垂直或向上倒裝。如圖,建議使用安裝工具,將安裝工具套在浮動密封環外圓處,將O型密封圈水平對準浮封座腔室的入口,平穩地對安裝工具逐步施壓。安裝工具將O型密封圈保持浮動密封環背錐面底部,使其外徑保持小狀態。這樣O型圈可以比較容易滑入浮封座腔室。并避免了密封面和O型密封圈被戳傷劃傷。缺少安裝工具時,也可使用較細較硬的O型密封圈代替安裝工具。
檢查O型密封圈位置,確保水平,且沒有扭曲、或拱起。如果有,需要調整恢復。檢查浮動密封環密封面與浮封座安裝基準平面的平行度,一般要求偏斜不得超過浮封環環外徑尺寸的1/2000。在密封面上均勻涂抹一層清潔的潤滑油膜。設備對合時,要平穩輕緩,不要碰壞密封面。
設備裝配完畢后,按要求加注潤滑油,試運轉2小時左右,檢測油溫及密封部位有無泄漏和異常聲音等現象。
安裝B型浮動油封密封件的過程大部分與A型相同,但B型一般不需要安裝工具,直接將浮動密封環連同套好的膠圈水平壓入浮封座底部即可。但一定要注意膠圈的頂端與L形浮封環根部貼合,注意膠圈的底端與浮封座底部貼合。檢查膠圈邊緣浮封座邊緣距離是否一致,并同樣檢查浮動密封環密封面與浮封座安裝基準平面的平行度是否超過浮動密封環環外徑尺寸的1/2000。

不正確的安裝會使浮動油封整體卡死沒有到位,壓縮量增大;部分沒有到位,密封面偏斜,貼合不好,橡膠圈扭曲,提供的回復力不均,區域性形成回彈死點。導致密封面載荷不均,摩擦力過大,咬合燒毀,或形成間隙,造成泄漏。
浮動油封密封件是否安裝正確對其能否良好使用有很大影響。以A型浮動油封為例,首先要做好準備工作。清潔設備及浮封座,確保沒有毛刺、雜質、油污等。舊設備可以先用刮刀鏟除浮封座腔室表面的污垢和銹跡,再用非油基清洗劑清洗,用絲布或者麂皮擦干凈。并檢查浮動油封是否完好清潔,密封面有無損傷劃痕等,必要時需要研磨修復。浮封環要小心拿放以防損壞或變形。復合安裝腔室尺寸及裝配尺寸。分別把O型圈套在浮封環背錐面底部,適當拉伸調整,避免扭曲或拉伸不均。


安裝時為確保安裝準確到位,要求水平向下安裝,避免傾斜、垂直或向上倒裝。如圖,建議使用安裝工具,將安裝工具套在浮動密封環外圓處,將O型密封圈水平對準浮封座腔室的入口,平穩地對安裝工具逐步施壓。安裝工具將O型密封圈保持浮動密封環背錐面底部,使其外徑保持小狀態。這樣O型圈可以比較容易滑入浮封座腔室。并避免了密封面和O型密封圈被戳傷劃傷。缺少安裝工具時,也可使用較細較硬的O型密封圈代替安裝工具。
檢查O型密封圈位置,確保水平,且沒有扭曲、或拱起。如果有,需要調整恢復。檢查浮動密封環密封面與浮封座安裝基準平面的平行度,一般要求偏斜不得超過浮封環環外徑尺寸的1/2000。在密封面上均勻涂抹一層清潔的潤滑油膜。設備對合時,要平穩輕緩,不要碰壞密封面。
設備裝配完畢后,按要求加注潤滑油,試運轉2小時左右,檢測油溫及密封部位有無泄漏和異常聲音等現象。
安裝B型浮動油封密封件的過程大部分與A型相同,但B型一般不需要安裝工具,直接將浮動密封環連同套好的膠圈水平壓入浮封座底部即可。但一定要注意膠圈的頂端與L形浮封環根部貼合,注意膠圈的底端與浮封座底部貼合。檢查膠圈邊緣浮封座邊緣距離是否一致,并同樣檢查浮動密封環密封面與浮封座安裝基準平面的平行度是否超過浮動密封環環外徑尺寸的1/2000。

不正確的安裝會使浮動油封整體卡死沒有到位,壓縮量增大;部分沒有到位,密封面偏斜,貼合不好,橡膠圈扭曲,提供的回復力不均,區域性形成回彈死點。導致密封面載荷不均,摩擦力過大,咬合燒毀,或形成間隙,造成泄漏。
