東晟產品分類
聯系我們
廣東東晟密封科技有限公司
電話:
傳真:
地址:石碣鎮橫滘工業區偉業街
郵編:523302
E-mail:
斯特封格萊圈的安裝方式
來源:東莞市東晟密封件科技有限公司 - www.hzxsih.com.cn更新時間:2015-08-31
格萊圈是油缸密封件的安裝和裝配,先安裝O型圈之后安裝格萊圈的耐磨環,小規格的一般采用直接安裝的辦法,用油加熱,油溫不能太高,耐磨環軟了就可以了然后套到軸上,冷卻后就可以了.大規格的格萊圈專業的話采用錐形套筒,從套筒的小頭逐漸推向大頭,最后推到溝槽內。斯特封密封件的安裝和裝配也是先安裝O型圈之后安裝斯特封的耐磨環,安裝耐磨環時先將耐磨環順直徑方向往內壓一點,之后將耐磨環安裝到溝槽內,然后用手將壓變形處撫平。
北方冬天安裝油缸密封件,要先將耐磨環加熱之后套到軸上,等冷卻后在按上述辦法安裝,放軸時一定要注意觀察軸是否完全套到耐磨環內了,同時注意導向帶不要卡住軸,否則可能因為導向帶被擠出溝槽后壓壞斯特封。
以下圖解介紹:
雖然聚四氟乙烯是高效耐用的密封件材料,但為避免損傷密封唇而導致在正式投入使用前發生泄漏,安裝時仍須特別小心。
一、應遵循以下安裝指南以確保可靠的安裝:
1、尖邊必須去毛刺和倒圓,還須根據安裝的具體要求做倒角。
2、螺紋、導向環溝槽等應遮蓋,因為密封件不能在溝縫、鉆孔和粗糙的表面上被推過。
3、灰塵、臟污、碎屑和其它外界異物必須小心清除。
4、缸筒、活塞、活塞桿和密封件在安裝前應涂油和油脂,并要考慮到與密封介質相匹配。
5、在加熱的油或熱水中(約80℃-120℃),聚四氟乙烯密封件很容易被擴張并恢復原狀。
6、任何安裝時使用的工具,如用于擴張的錐形裝配工具和校準心軸須用柔軟材料制成(如聚酰胺),并具無任何銳利的邊角。
二、閉式溝槽中活塞密封件的安裝(參考圖一、二)

1、在溝槽中放入O形圈(不得扭曲)
2、將聚四氟乙烯圈套入錐形裝配工具,并用擴張軸套將它一直推入溝槽中,在這一過程中聚四氟乙烯圈被擴張。(見圖一)
3、用內徑與液壓缸徑相符的校準軸套,促使擴張的聚四氟乙烯復原。(見圖二)
三、閉式溝槽中活塞桿密封件的安裝
1、在溝槽中放入O形圈(不得扭曲)。
6、用內徑與液壓缸徑相符的校準軸套,促使擴張的聚四氟乙烯復原。(見圖二)
三、閉式溝槽中活塞桿密封件的安裝(參閱圖三、四、五)
1、在溝槽中放入O形圈(不得扭曲)。
2、將聚四氟乙烯環壓成腎形并且不得形成尖形彎曲。(見圖三)
3、將壓縮的聚四氟乙烯圈插入溝槽。(見圖四)
4、用校準心軸復原.(見圖五) 一邊轉動,一邊將校準心軸推入孔中、直至密封圈完全充滿密封槽內,才將校準心軸抽出。
(1)溝槽底部圓角;
(2)溝槽兩側面端部圓角;
(3)溝槽底部的表面粗糙度;
(4)溝槽兩側面的表面粗糙度;
(5)溝槽寬度的公差值;
(6)安裝倒角的角度和寬度;
(7)允許的徑向間隙值;
北方冬天安裝油缸密封件,要先將耐磨環加熱之后套到軸上,等冷卻后在按上述辦法安裝,放軸時一定要注意觀察軸是否完全套到耐磨環內了,同時注意導向帶不要卡住軸,否則可能因為導向帶被擠出溝槽后壓壞斯特封。
以下圖解介紹:
雖然聚四氟乙烯是高效耐用的密封件材料,但為避免損傷密封唇而導致在正式投入使用前發生泄漏,安裝時仍須特別小心。
一、應遵循以下安裝指南以確保可靠的安裝:
1、尖邊必須去毛刺和倒圓,還須根據安裝的具體要求做倒角。
2、螺紋、導向環溝槽等應遮蓋,因為密封件不能在溝縫、鉆孔和粗糙的表面上被推過。
3、灰塵、臟污、碎屑和其它外界異物必須小心清除。
4、缸筒、活塞、活塞桿和密封件在安裝前應涂油和油脂,并要考慮到與密封介質相匹配。
5、在加熱的油或熱水中(約80℃-120℃),聚四氟乙烯密封件很容易被擴張并恢復原狀。
6、任何安裝時使用的工具,如用于擴張的錐形裝配工具和校準心軸須用柔軟材料制成(如聚酰胺),并具無任何銳利的邊角。
二、閉式溝槽中活塞密封件的安裝(參考圖一、二)

1、在溝槽中放入O形圈(不得扭曲)
2、將聚四氟乙烯圈套入錐形裝配工具,并用擴張軸套將它一直推入溝槽中,在這一過程中聚四氟乙烯圈被擴張。(見圖一)
3、用內徑與液壓缸徑相符的校準軸套,促使擴張的聚四氟乙烯復原。(見圖二)
三、閉式溝槽中活塞桿密封件的安裝
1、在溝槽中放入O形圈(不得扭曲)。
2、將聚四氟乙烯環壓成腎形并且不得形成尖形彎曲。(見圖三)

3、將壓縮的聚四氟乙烯圈插入溝槽。(見圖四)
4、用校準心軸復原.(見圖五) 一邊轉動,一邊將校準心軸推入孔中、直至密封圈完全充滿密封槽內,
6、用內徑與液壓缸徑相符的校準軸套,促使擴張的聚四氟乙烯復原。(見圖二)
三、閉式溝槽中活塞桿密封件的安裝(參閱圖三、四、五)
1、在溝槽中放入O形圈(不得扭曲)。
2、將聚四氟乙烯環壓成腎形并且不得形成尖形彎曲。(見圖三)
3、將壓縮的聚四氟乙烯圈插入溝槽。(見圖四)
4、用校準心軸復原.(見圖五) 一邊轉動,一邊將校準心軸推入孔中、直至密封圈完全充滿密封槽內,才將校準心軸抽出。
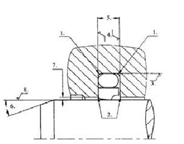
四、安裝溝槽結構要素(參閱圖六)
(1)溝槽底部圓角;
(2)溝槽兩側面端部圓角;
(3)溝槽底部的表面粗糙度;
(4)溝槽兩側面的表面粗糙度;
(5)溝槽寬度的公差值;
(6)安裝倒角的角度和寬度;
(7)允許的徑向間隙值;
(8)密封面(活塞桿表面或缸筒內表面)的表面粗糙度。
