東晟產品分類
旋轉油封的裝置中部件公差及配合中英文術語參考(三)
來源:廣東東晟密封科技有限公司 - www.hzxsih.com.cn更新時間:2018-09-17
旋轉軸唇形油封(GB/T16593-1996旋轉軸唇形油封術語)專業術語及油封英文對照,主要分為五部分進行詳細的講解,東晟密封件告訴您都有油封基本尺寸和公差、密封術語、油封貯存維護和安裝、性能試驗方法、外觀缺陷的鑒別的油封術語的密封術語定義及密封英文對照。
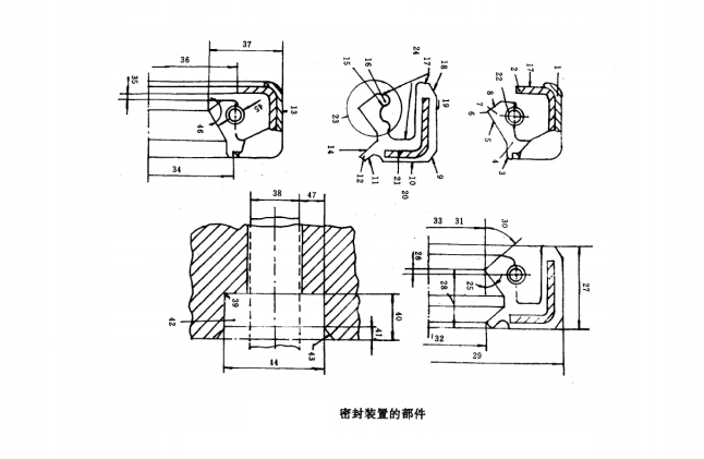
1.密封唇前表面
油封英語翻譯:lip,front sede,minor
油封術語定義:面向油封內側的防塵副唇的那一部分。
2.密封唇
油封英語翻譯:lip,sealing
油封術語定義:頂在軸上起密封作用的柔性彈性體的密封元件。
3.彈簧護唇
油封英語翻譯:lip,spring retaining
油封術語定義:位于唇冠部,從彈簧溝槽及密封唇前表面徑向地向外延伸的唇部,起固定緊箍彈簧的位置的作用。
4.精磨加工痕跡
油封英語翻譯:plunge ground finish
油封術語定義:軸或耐磨軸套的表面紋理,是由磨削輪對旋轉軸在沒有軸向跳動的情況之下進行研磨而形成的加工痕跡。
5.腔體內孔倒圓
油封英語翻譯:radius,housing bore
油封術語定義:腔體內孔內拐角處的圓角。
6.彈簧比率
油封英語翻譯:rate,spring
油封術語定義:把彈簧拉伸一單位距離所需的力,與初始張力無關。
7.表面粗糙度
油封英語翻譯:roughness,surface
油封術語定義:按ISO 3274和ISO 4288測得的表面輪廓不規則性的。
8.軸跳動量
油封英語翻譯:run-out,shaft
油封術語定義:用FIM表示的雙倍軸偏心度
9.軸密封接觸區
油封英語翻譯:seal land
油封術語定義:同密封唇接觸的經精加工的那部分軸表面。
10.徑向密封空間
油封英語翻譯:spacem,radial,seal
油封術語定義:軸外徑與腔體內孔內徑間的徑向距離。
11.緊箍彈簧
油封英語翻譯:spring,garter
油封術語定義:首尾邊接成環的螺旋纏繞鋼絲彈簧,用于保持密封唇與軸之間的徑向密封力。
12.彈簧相對位置
油封英語翻譯:spring,positionrelative
油封術語定義:密封刃口與彈簧溝槽中心線之間的軸向距離。
13.外表面
油封英語翻譯:surface,outside
油封術語定義:油封的外表面,一般指壓配合表面。
14.油封高度
油封英語翻譯:width
油封術語定義:油封總的軸向尺寸。
15.徑向寬度
油封英語翻譯:width,radial
油封術語定義:油封外表面與密封唇刃口間的徑向距離。
了解更多油封的問題,就在東晟密封件廠家批發網哦!
本文章來自于網絡共享,版權歸原作者所有,如有侵權請告知,24小時內即刻下線!
文章整理東晟密封件公司dshmf.com
